Demo stand WUDs200-1 - Wischnewskyi Ultrasonic Motors

Go to content
PRODUCTS
DEMONSTRATION STAND WUDs200-1.

Design description.

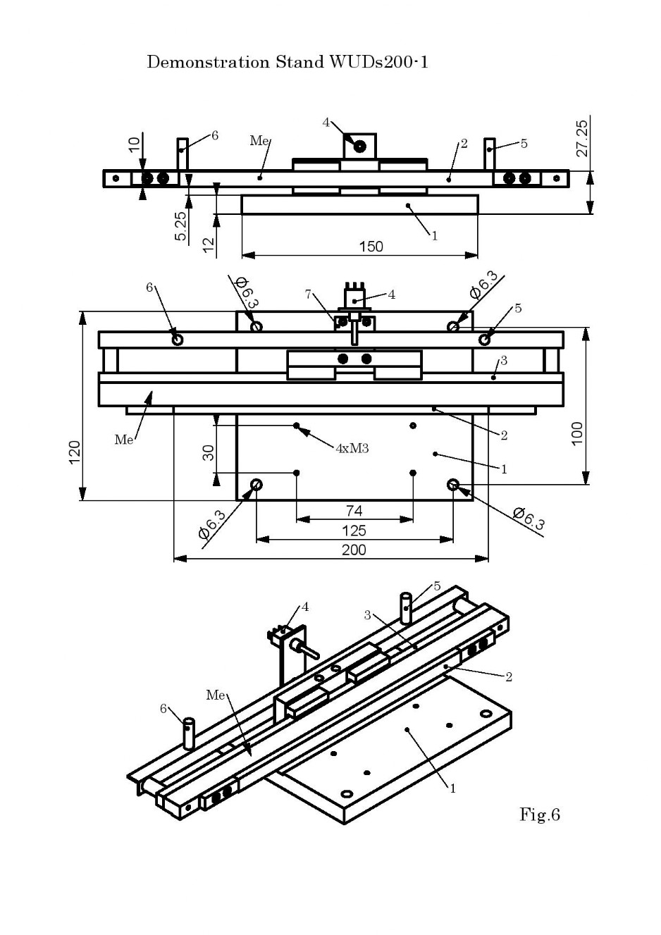
Fig. 6 shows a demonstration stand WUDs200-1.

The stand is designed to demonstrate the functioning and testing of various types of WUMoLL000 ultrasonic piezoelectric motors.

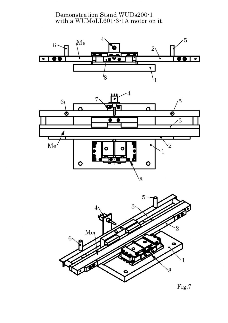
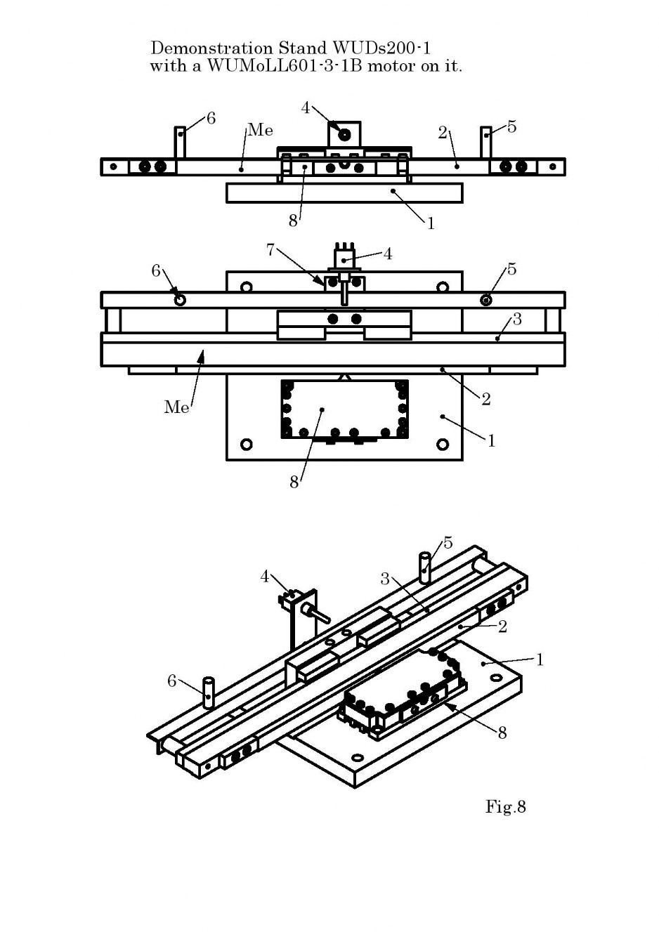
The stand contains an installation platform 1, on which an ultrasonic piezoelectric motor is installed.

When installed, the friction element of the motor is pressed against the friction rail 2.

This bench model uses a friction rail of the WUFr200 type, 200 mm long.

The friction rail is mounted on the movable element Me of the stand.

The movable element Me is mounted on the linear guide 3 and is driven by the friction element of the motor.

The stand is equipped with a switch 4 and switching racks 5, 6.

The stand also has a holder 7 of a high-resolution optical position sensor of the movable element Me and a prepared place for installing the position sensor line.

The sensor and the ruler can be installed on the stand according to the individual requirement of the customer.

When demonstrating the functioning of the motor or during its testing, the movable element Me performs linear movements.

When moving in one of the directions, the stand 5 or stand 6 abuts against the switch 4 switches it. Switching the switch 4 changes the direction of movement of the movable element Me of the stand to the opposite.

This allows a continuous movement of the movable element of the stand continuously in both directions.

Figure 7 shows the stand WUDs200-1 c installed on it a WUMoLL601-3-1A motor.

Figure 8 shows the stand WUDs200-1 c installed on it with the WUMoLL601-3-1B motor.
Back to content